Запасные части ЧТЗ Запасные части ЧТЗ
Севастополь
Например:
Актобе
Алдан
или
Выбрать автоматически
Актобе
Алдан
Алматы
Алчевск
Архангельск
Астана
Астрахань
Атырау
Баку
Балашиха
Барнаул
Белгород
Бердянск
Бишкек
Владивосток
Владикавказ
Воркута
Воронеж
Горловка
Грозный
Донецк
Екатеринбург
Иваново
Ижевск
Иркутск
Казань
Калининград
Каменск-Уральский
Караганда
Каховка
Кемерово
Киров
Комсомольск-на-Амуре
Костанай
Краснодар
Красноярск
Красный луч
Ленск
Луганск
Магадан
Магнитогорск
Макеевка
Махачкала
Мелитополь
Минск
Мирный (Якутия)
Москва
Мурманск
Нерюнгри
Нижневартовск
Нижний Новгород
Нижний Тагил
Новая каховка
Новокузнецк
Новосибирск
Новый Уренгой
Норильск
Ноябрьск
Нур-Султан
Омск
Оренбург
Ош
Павлодар
Пермь
Петрозаводск
Петропавловск
Петропавловск-Камчатский
Псков
Ростов-на-Дону
Салехард
Самара
Санкт-Петербург
Саратов
Севастополь
Семей
Симферополь
Сочи
Ставрополь
Сургут
Сыктывкар
Тараз
Ташкент
Токмак
Томск
Тында
Тюмень
Ульяновск
Усинск
Усть-Каменогорск
Уфа
Хабаровск
Ханты-Мансийск
Херсон
Челябинск
Чита
Шымкент
Экибастуз
Энергодар
Южно-Сахалинск
Якутск
Ваш город
Севастополь
Войти
Запасные части к тракторам на одном сайте
+7 (932) 303-00-10
+7 (932) 303-00-10
г. Севастополь, ул. Отрадная, д. 17/1
Пн-Пт: 9:30-18:30 Cб-Вс: Выходной
Отправить заявку


Ремонт муфты сцепления Т-170 Б-170 трактора в Севастополе


/
с НДС 20%
Описание

Снятие муфты сцепления Т-170

Установите трактор над смотровой ямой. Снимите отопитель кабины. Пропустите трос подъемного устройства в кабину через люк в крыше.

Снятие фланца с нажимным диском и муфтой включения. Снимите переднюю среднюю панель пола кабины и крышку люка верхнего кожуха муфты сцепления. Выверните болт крепления хомута трубы подвода масла из нижней половины кожуха муфты сцепления. Выверните шестнадцать болтов крепления нижней половины кожуха и снимите кожух. Выверните штуцер крепления сливной трубы к сервомеханизму и сдвиньте трубу, вверните штуцер на свое место до упора. Это предохранит поршень сервомеханизма от опускания в нерабочее положение и заклинивания при снятии нагрузки с него.

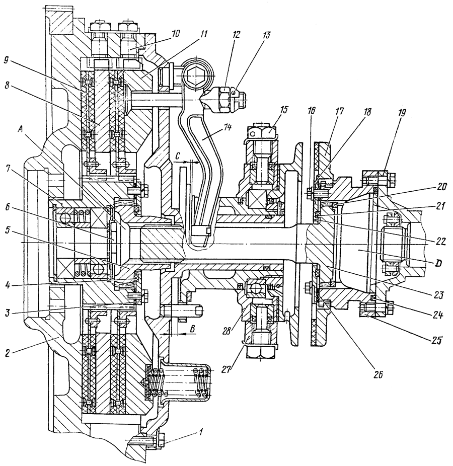
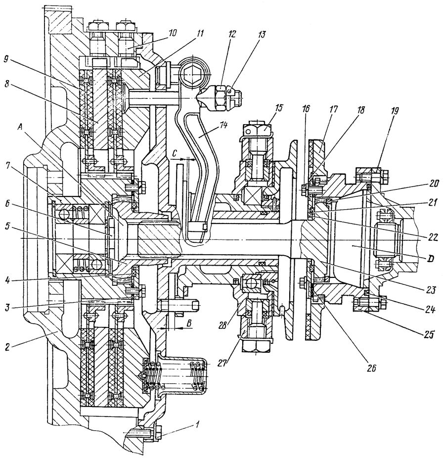
Муфта сцепления

Рис. 191. Муфта сцепления

Отсоедините рукав подвода смазки от пальца 15 ( рис. 191 ) и тягу сервомеханизма от рычага 27, перемещающего муфту включения. Отсоедините муфту 25 от фланца 19 верхнего вала коробки передач, Отверните четыре болта 16 крепления крышки 22 тормозка 17. Передвиньте карданный вал 23 вместе с муфтой 25 вперед по ходу трактора. Сдвиньте, придерживая тормозок, муфту 25к фланцу верхнего вала коробки передач и снимите муфту/опустив ее вниз. Вверните в нажимной диск через отверстия фланца три стяжных технологических болта М12Х35, что снимает нагрузку с регулировочных болтов.

Из кабины через люк в верхней половине кожуха муфты сцепления опустите трос и застропите муфту за цилиндрическую поверхность ползуна муфты 28 включения. Масса муфты 90 кг. Трос должен быть закреплен в кабине трактора или надежно удерживаться подъемником.

Расстопорите двенадцать болтов 1 крепления фланца к маховику 2 и выверните их, проворачивая маховик.

Сдвиньте фланец с нажимным диском и муфтой включения в сторону коробки передач и снимите фланец с карданным валом 23 с трактора, опустив его вниз.

Предупреждение

При опускании фланца не находитесь под ним.

Выньте из фланца карданный вал с крышкой 22 тормозка и резиновым кольцом 21.

Снятие ведомых деталей муфты сцепления

Расстопорите и отверните болты крепления отражателя 2 и крышки 3 муфты карданного вала. Снимите отражатель, крышку, уплотнительное кольцо 4 и уплотнительную прокладку крышки 3. Снимите муфту 5 карданного вала. Снимите два ведомых 9 и ведущий 8 диски. Расстопорите гайку 6 крепления зубчатого барабана 7 и отверните ее торцовым ключом, снимите пластину и стопорную шайбу гайки. Спрессуйте зубчатый барабан съемником вместе с подшипниками, распорной втулкой и пружиной.

Разборка муфты сцепления Т-170

Разборка фланца с нажимным диском

Фланец в сборе с нажимным диском и муфтой включения

Рис. 192. Фланец в сборе с нажимным диском и муфтой включения

Разбирайте при ввернутых трех технологических болтах М12Х35 для снятая нагрузки от пружин с регулировочных болтов 2 ( рис. 192 ). Расшплинтуйте гайки 8 крепления рычагов 10, сверните гайки с регулировочных болтов и снимите призмы 7. Расшплинтуйте и отверните гайки с пальцев 6, Выньте пальцы из отверстий опор 4, снимите рычаги 10 и ролики 5. Снимите с фланца 3 муфту включения 11 в сборе с рычагом. Извлеките из канавки фланца уплотнительное кольцо 12.

При последующей разборке сожмите прессом с усилием 20 кН (2000 кгс) пружины фланца и выверните технологические болты из нажимного диска. Снимите усилие пресса и разъедините фланец с нажимным диском. Снимите подпятники 17, пружины 14 и 15 и стаканы 16 пружин.

Разборка муфты включения с рычагом

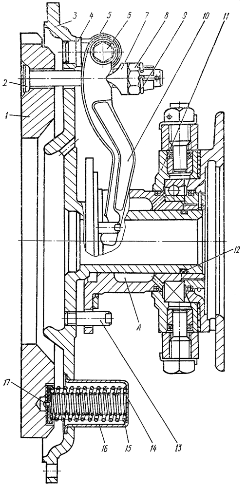
Муфта включения

Рис. 193. Муфта включения

Расстопорите и выверните верхний палец 8 ( рис. 193 ) крепления рычага 16. Расстопорите и выверните нижний палец 14, снимите рычаг с муфты включения. Выверните четыре болта крепления крышки 9 к корпусу подшипника 4 и снимите крышку с двух штифтов. Снимите пружинное кольцо 12, высвободив его из отверстия гайки 13 и ползуна 2. Отверните гайку 13 специальным ключом, вставив его в два отверстия на торце гайки. Снимите с гайки уплотнительные кольца, корпус подшипника с ползуна при помощи съемника, с ползуна — уплотнительные кольца 3. Выпрессуйте шарикоподшипник из корпуса подшипника.

Разборка зубчатого барабана

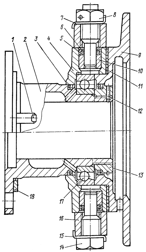
Барабан зубчатый

Рис. 194. Барабан зубчатый

Выньте из внутренних канавок зубчатого барабана стопорные пружинные кольца 2 ( рис. 194 ). Выпрессуйте два шарикоподшипника 3 вместе с распорной втулкой 1 и пружиной 4.

Технические требования муфты сцепления Т-170

Технические требования на тормозок

  1. Накладка сцепления должна быть прочно приклеена клеем ВС-ЮТ. Отслоение накладок не допускается.

  2. Толщина новой накладки сцепления (5±0,1) мм. Допустимая толщина изношенной накладки — 3 мм.

  3. Ведомый диск. 1. Сектора трения при замене подбирайте с колебанием по толщине не более 0,1 мм.

  4. Неплоскостность поверхностей трения ведомого диска допускается не более 0,3 мм под равномерно распределенной нагрузкой 150 Н (15 кгс). Допускается рихтовка диска.

  5. Толщина нового ведомого диска с накладками (13,5±0,47) мм. Допустимая толщина изношенного диска — 10 мм.

Технические требования на фланец с нажимным диском

  1. Разница по массе рычагов допускается не более 0,01 кг.

  2. Колебания по нагрузке пружин муфты допускаются не более 20 Н (2 кгс).

  3. Ширина паза под ролик 6±0,18 мм. Допустимый зазор между роликом и стенкой паза опоры не более 0,7 мм. Допустимый зазор между вилкой рычага и опорой фланца не более 1 мм. Допустимый зазор между пальцем и отверстием под него в опоре фланца не более 0,3 мм.

  4. Неплоскостность поверхности трения нажимного диска допускается не более 0,15 мм.

Технические требования на ведущий диск

  1. Неплоскостность поверхностей трения допускается не более 0,15 мм.

  2. Толщина нового ведущего диска (23±0,105) мм. Допустимая толщина диска — 22,4 мм.

Технические требования на муфту включения

  1. Внутренний диаметр ползуна муфты включения под фланец 72±0,074 мм. Диаметр фланца под ползун — 72±0,174 мм. Зазор между ползуном и фланцем 0,1...0,248 мм. Допустимый зазор между ползуном и фланцем — 0,61мм. Предельный зазор — 1 мм. Наружный диаметр ползуна под подшипник 90±0,025 мм. Допустимый зазор в сопряжении с подшипником не более 0,005 мм.

  2. Внутренний диаметр втулки под палец рычага 17±0,07 мм. Диаметр пальцев 17±0,15мм. Допустимый зазор между втулкой и пальцем рычага не более 0,5 мм. Предельный зазор — 0,7 мм.

  3. Толщина фланца крышки корпуса подшипника (9±0,1) мм. Допустимая толщина фланца — 6 мм.

  4. Зазор в стыке уплотнительных колец должен быть не более 1,5 мм.

Сборка муфты сцепления Т-170

Сборка муфты включения с рычагом

Заверните три пальца 1 ( см. рис. 193 ) в ползун и каждый раскерните в трех местах, сопряженных с резьбой.

Запрессуйте в корпус подшипника две втулки 10 и установите уплотнительные кольца 6 с заглушками 5. Заполните полость шарикоподшипника 17 смазкой Литол-24 и запрессуйте его в корпус 4 подшипника.

Наденьте на ползун 2 упорное кольцо 18. Установите в канавку два уплотнительных чугунных кольца 3. Разрезы колец расположите на 180° относительно друг друга.

Соберите корпус подшипника с крышкой 9, предварительно установив между ними прокладку 11.

Вверните в крышку со стороны корпуса болты, не затягивая их. Совместите отверстия под штифты в корпусе и крышке, запрессуйте со стороны корпуса подшипника два штифта. Затяните окончательно болты. Момент затяжки болтов 20...30Н-м (2...3 кгс-м). Наденьте на ползун разъемное кольцо-оправку для сжатия уплотнительных колец. Напрессуйте корпус подшипника в сборе с крышкой , на ползун 2 до упора подшипника в бурт ползуна. Удалите кольцо-оправку.

Установите в канавку круглой гайки 13 два уплотнительных кольца, разрезы которых повернуты на 180° относительно друг друга. Наверните Райку на резьбовой конец ползуна. При наворачивании гайки поочередно сжимайте и заправляйте уплотнительные кольца в отверстие крышки. Затяните гайку специальным ключом, используя два отверстия на торце. Момент затяжки гайки 90...320 Н-м (9...32 кгс-м). Застопорите гайку пружинным кольцом 12, усик которого введите в совмещенные отверстия на гайке й ползуне.

Корпус подшипника должен после сборки вращаться свободно, без заеданий. Установите на корпус подшипника рычаг 16 седлом шаровой гайки в сторону маховика. Закрепите рычаг пальцами 8 и 14 со стопорными пластинами 7 и 15. Момент затяжки пальцев 320...400 Н-м (32...40 кгс-м). Отогните концы пластин на грани пальцев. При этом проследите, чтобы одно радиальное отверстие в головке верхнего пальца не было закрыто концом стопорной пластины 7.

Сборка фланца с нажимным диском и муфтой включения

Установите в отверстия нажимного диска 1 ( см. рис. 192 ) регулировочные болты 2 и уложите диск гнездами под пружины вверх. Уложите в гнезда подпятники 17 пружин, пружины 14 и 15, на пружины установите стаканы 16. Установите фланец 3 на пружины, совместив отверстия фланца с регулировочными болтами и стаканами пружин.

Сожмите прессом с усилием 20 кН (2000 кгс) пружины и вверните в нажимной диск со стороны фланца три технологических - стяжных болта М12Х35 для удержания пружин. Снимите фланец с пресса.

Установите в канавку фланца уплотнительное кольцо 12. Заполните смазкой Литол-24 полость А ползуна муфты и наденьте на фланец муфту включения 11 с рычагом. Палец 13 фланца должен войти в отверстие ползуна. Установите в паз опоры4 ролик 5 и, надев на регулировочный болт рычаг 10, закрепите рычаг на опоре пальцем с гайкой. Зашплинтуйте гайку. Аналогично установите остальные рычаги. Установите на регулировочные болты 2 призмы 7 и наверните гайки 8, зашплинтовав шплинтами 9.

Установка муфты сцепления Т-170

Установка ведомых деталей муфты сцепления

Напрессуйте зубчатый барабан 7 ( см. рис. 191 ) в сборе с подшипниками на цапфу коленчатого вала до упора. Установите шайбу, стопорную пластину, заверните гайку 6 торцовым ключом и застопорите, отогнув края пластины на грани гайки.

Установите на наружные шлицы зубчатого барабана ведомый диск 9, а на сухари 10 маховика — ведущий диск 8. Установите второй ведомый диск на шлицы барабана 7. Ступицы ведомых дисков должны быть обращены в сторону нажимного диска.

Установите на внутренние шлицы зубчатого барабана муфту 5 карданного вала, предварительно смазав шлицы смазкой Литол-24, заполните смазкой полость А муфты установите уплотнительное; кольцо 4, прокладку, крышку 3 и закрепите муфту карданного вала болтами с пружинными шайбами. Момент затяжки болтов 29,4...39,2 Н-м (3...4 кгс м).

Установка тормозка и фланца, с нажимным диском

Смажьте шлицы карданного вала смазкой Литол-24. Наденьте на карданный вал 23 крышку 22 тормозка с резиновым уплотнительным кольцом 21 и прокладкой 26. Вставьте вал в отверстие фланца.

Застропите фланец за ползун муфты включения и, поддерживая его, заведите в выточку маховика. При этом сухари 10 маховика должны войти в пазы нажимного диска 11, а шлицевой конец карданного вала в муфту 5 карданного вала. Закрепите фланец, поворачивая маховик, двенадцатью болтами 1 с пружинными шайбами. Момент затяжки болтов 49...78,5 Н-м (5...8 кгс-м). Выверните технологические болты из нажимного диска.

Сдвиньте карданный вал вперед по ходу трактора. Смажьте прокладку 26 солидолом и приклейте ее к крышке 22 тормозка. Установите тормозок 17 на карданный вал 23.

Установите пружинное кольцо 20 во внутреннюю полость Муфты. Уложите в канавку на торцовой поверхности муфты 25 резиновое кольцо 24. Заполните полость D муфты смазкой Литол:24.

Посадите муфту, на шлицы карданного вала, а тормозок на наружные шлицы муфты. Сдвиньте тормозок, карданный вал и муфту 25 к верхнему валу коробки передач. Закрепите крышку 22 тормозка к муфте, поочередно вворачивая четыре болта 16 с пластинами 18 и пружинными шайбами. Момент затяжки болтов 70... 90 Н • м (7... 9 кгс м).

Присоедините муфту 25 к верхнему валу коробки передач восемью призонными болтами со стопорными пластинами.

Присоедините штуцером рукав подвода смазки к пальцу 15 рычага включения муфты. Законтрите штуцер проволокой к рукаву. Присоедините рычаг включения 27 к тяге сервомеханизма с помощью шаровой гайки.

Для установки рычагов 14 в нужное положение отодвиньте ползун муфты включения от фланца на размер В=(10±1) мм и наверните регулировочные гайки до легкого касания рычагов 14 поверхности упорного кольца муфты включения. Зазор между рычагами и упорным кольцом в этом положении должен быть С=0...0,2 мм. Гайки 12 зашплинтуйте проволокой 13.

Установите нижнюю половину кожуха муфты сцепления на кожух маховика и закрепите ее болтами к кожуху маховика и верхней половине кожуха муфты сцепления. Закрепите хомут трубы подвода масла к сервомеханизму на нижней половине кожуха. Выверните из сливного отверстия сервомеханизма штуцер, временно удерживающий поршень сервомеханизма и закрепите им сливную трубу к сервомеханизму.

Установите переднюю панель пола в кабине трактора.

Ремонт муфты сцепления