Запасные части ЧТЗ Запасные части ЧТЗ
Севастополь
Например:
Актобе
Алдан
или
Выбрать автоматически
Актобе
Алдан
Алматы
Алчевск
Архангельск
Астана
Астрахань
Атырау
Баку
Балашиха
Барнаул
Белгород
Бердянск
Бишкек
Владивосток
Владикавказ
Воркута
Воронеж
Горловка
Грозный
Донецк
Екатеринбург
Иваново
Ижевск
Иркутск
Казань
Калининград
Каменск-Уральский
Караганда
Каховка
Кемерово
Киров
Комсомольск-на-Амуре
Костанай
Краснодар
Красноярск
Красный луч
Ленск
Луганск
Магадан
Магнитогорск
Макеевка
Махачкала
Мелитополь
Минск
Мирный (Якутия)
Москва
Мурманск
Нерюнгри
Нижневартовск
Нижний Новгород
Нижний Тагил
Новая каховка
Новокузнецк
Новосибирск
Новый Уренгой
Норильск
Ноябрьск
Нур-Султан
Омск
Оренбург
Ош
Павлодар
Пермь
Петрозаводск
Петропавловск
Петропавловск-Камчатский
Псков
Ростов-на-Дону
Салехард
Самара
Санкт-Петербург
Саратов
Севастополь
Семей
Симферополь
Сочи
Ставрополь
Сургут
Сыктывкар
Тараз
Ташкент
Токмак
Томск
Тында
Тюмень
Ульяновск
Усинск
Усть-Каменогорск
Уфа
Хабаровск
Ханты-Мансийск
Херсон
Челябинск
Чита
Шымкент
Экибастуз
Энергодар
Южно-Сахалинск
Якутск
Ваш город
Севастополь
Войти
Запасные части к тракторам на одном сайте
+7 (932) 303-00-10
+7 (932) 303-00-10
г. Севастополь, ул. Отрадная, д. 17/1
Пн-Пт: 9:30-18:30 Cб-Вс: Выходной
Отправить заявку


Ремонт натяжного колеса Т-170 Б-170 трактора в Севастополе


/
с НДС 20%
Описание

Снятие натяжного колеса Т-170

Предупреждение: не находитесь поблизости от трактора при его движении, когда производится съем гусеницы с натяжного колеса.

Трактор поставьте так, чтобы замыкающий палец оказался на передней части обода натяжного колеса, немного ниже оси колеса.

Установка натяжного колеса

Рис. 289. Установка натяжного колеса

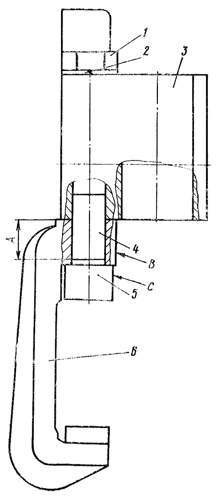
Ослабьте натяжение гусеницы и разъедините ее. Освободите натяжное колесо от верхней ветви гусеницы, подав трактор назад. Отверните четыре болта 1 ( рис. 289 ) крепления вилки механизма натяжения к опорам натяжного колеса.

Приспособление для подъема натяжного колеса

Рис. 290. Приспособление для подъема натяжного колеса

Отверните по два болта 2 с каждой стороны крепления крышек 3, снимите крышки и выньте из отверстий опор натяжного колеса пружины 20 ( см. рис. 291 ).

Колесо натяжное

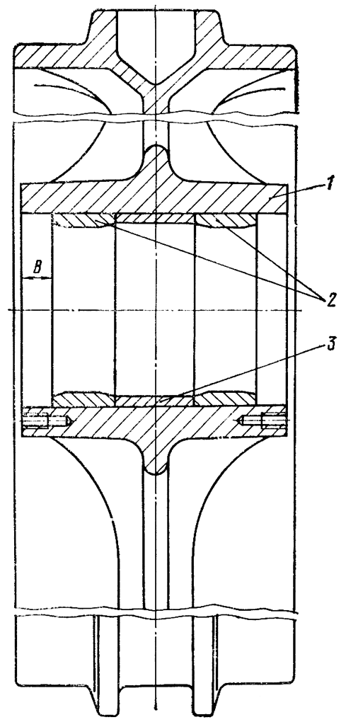
Рис. 291. Колесо натяжное

Прикрепите колесо к подъемнику (рис. 290 ) и выведите его из рамы тележки, поддерживая плиты 7 ( рис. 291 ). Масса колеса 240 кг.

Разборка натяжного колеса Т-170

Отверните пробку 9, слейте масло из натяжного колеса. Заверните пробку 9 обратно в ось, чтобы предотвратить попадание грязи в каналы оси.

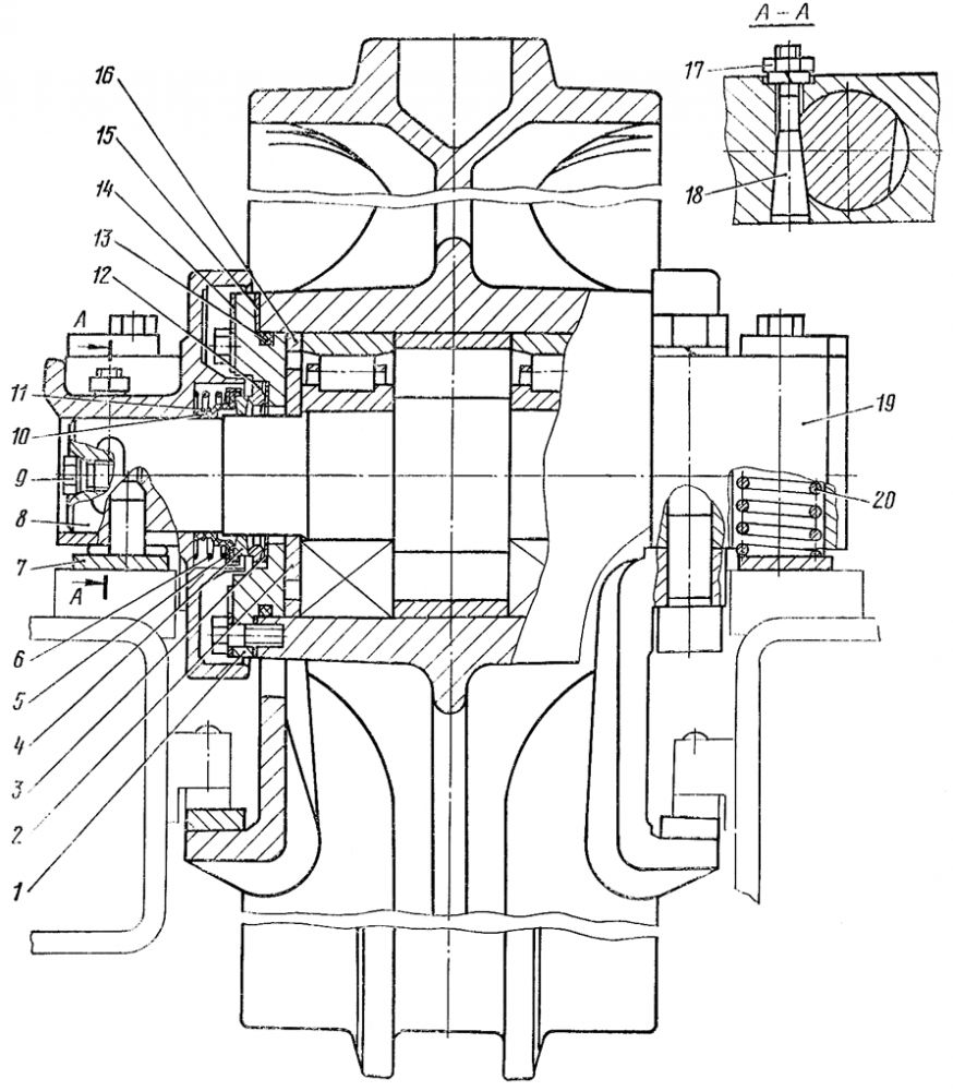
Отверните две гайки 17 и медным молотком выбейте стопоры 18. Снимите опоры 19 натяжного колеса в сборе с упорами.

Опора натяжного колеса с упором

Рис. 292. Опора натяжного колеса с упором

Расстопорите болты 1 ( рис. 292 ), стягивающие опоры 3 и упоры 6, и выверните болты из бонок 5. Снимите пружины 6 ( см. рис. 291 ) и обоймы 5. С помощью отвертки снимите пружинное кольцо 11 с манжеты 10. Снимите с оси манжету 10 и кольцо 4 торцового уплотнения. Снимите второе, кольцо 12 торцового уплотнения и прокладку 3.

Примечание: свяжите кольца уплотнения попарно, чтобы при сборке их установить комплектно в прежнее положение друг относительно друга.

Расстопорите болты крепления упорной шайбы 1 и отверните их. Удалите пластины 14. Снимите упорную шайбу. Удалите с упорной шайбы прокладки 15 и резиновое кольцо 13. Аналогично снимите упорную шайбу с другой стороны. Снимите с оси шайбы 2. Выньте из отверстия ступицы колеса ось 8 с внутренними кольцами роликоподшипников.

Ось натяжного колеса с внутренними кольцами роликоподшипников

Рис. 293. Ось натяжного колеса с внутренними кольцами роликоподшипников

При помощи съемника или пресса и оправки спрессуйте внутренние кольца 2 ( рис. 293 ) подшипника.

Натяжное колесо с наружными кольцами роликоподшипников

Рис. 294. Натяжное колесо с наружными кольцами роликоподшипников

Выньте из колеса дистанционные кольца 16 ( см. рис. 291 ), выпрессуйте с помощью оправки и пресса наружные кольца 2 ( рис. 294 ) роликоподшипников вместе с дистанционной втулкой 3.

Технические требования натяжного колеса Т-170

  1. Нормальная толщина обода 18±3,0 мм. Допустимая толщина обода 16,3 мм.

  2. Нормальная ширина направляющей части колеса (106±2,0) мм. Допустимая ширина направляющей части колеса 100,8 мм.

  3. Нормальный диаметр отверстия в ступице под подшипники 150±0,068 мм. Допустимый диаметр отверстия в ступице под подшипники 150,0 мм.

  4. Поверхности торцов новых колец торцового уплотнения должны быть притерты до образования кольцевого пояска.

  5. Нормальная толщина колец торцового уплотнения 7,2-0,36 мм. Допустимая толщина колец 5,85 мм.

  6. Нормальный натяг в сопряжении роликоподшипника с отверстием в ступице колеса должен быть в пределах 0,003...0,068 мм. Допустимый зазор 0,03 мм. Предельный зазор 0,14 мм.

  7. Нормальный натяг в сопряжении роликоподшипника с осью должен быть в пределах 0,003...0,038 мм. Допустимый зазор 0,01 мм. Предельный зазор 0,12 мм.

  8. Роликоподшипники разбиваются на заводе-изготовителе на группы. Номер группы наносится на наружном и внутреннем кольцах подшипника. При сборке следите, чтобы внутреннее и наружное кольца подшипника были одной группы.

  9. Роликоподшипники устанавливайте маркировкой на обоих кольцах наружу.

  10. Натяжное колесо должно плавно, без заеданий, проворачиваться на оси.

Сборка натяжного колеса Т-170

При сборке трущиеся поверхности смажьте трансмиссионным маслом. Смажьте маслом отверстие в ступице колеса 1 и запрессуйте наружное кольцо 2 роликоподшипника маркировкой наружу, выдерживая размер В=24 мм от торца ступицы до торца наружного кольца. Вставьте в ступицу колеса дистанционную втулку 3 и запрессуйте наружное кольцо второго роликоподшипника. Установите с обеих сторон ступицы колеса кольца 16 ( см. рис. 291 ) до упора в наружные кольца подшипников.

Нагрейте в масляной ванне внутренние кольца 2 ( см. рис. 293 ) роликоподшипников до температуры 363...373 К (90...100 °С) и напрессуйте их на ось 1 до упора в бурт маркировкой наружу. Вставьте ось 8 ( см. рис. 291 ) в ступицу колеса, отверстием под пробку со стороны клейма Н на торце ступицы колеса. Наденьте на лыски оси шайбы 2 до упора во внутренние кольца подшипников. Установите в канавку упорной шайбы 1 уплотнительное кольцо 13 и смажьте его солидолом. Перекручивание 1 кольца не допускается. Наденьте на упорную шайбу регулировочные прокладки 15 (не более шести) для обеспечения осевого люфта оси в пределах 0,10...0,65 мм. Установите упорную шайбу и закрепите ее к ступице шестью болтами с отгибными пластинами. Момент затяжки болтов 60...100 Н-м (6...10 кгс-м). Застопорите болты отгибными пластинами, отогнув их края на грани головок болтов. Установите также и закрепите вторую шайбу. Установите в упорную шайбу прокладку 3 и кольцо 12 торцового уплотнения, совместив вырезы прокладки и кольца со стопором упорной шайбы. Протрите поверхность кольца 12 и смажьте тонким слоем чистого трансмиссионного масла. Протрите поверхность кольца 4, прилегающую к кольцу 12, и наденьте кольцо на лыски оси до упора в кольцо 12. Установите манжету К на ось, надев ее буртом на кольцо 4. Наденьте с помощью конусной оправки на мажету пружинное кольцо 11. Установите, на ось обойму 5 и пружину 6 до упора в манжету.

Запрессуйте в правую и левую опоры 3 ( см. рис. 292 ) натяжного колеса по Два штифта 4, выдержав размер А = (23±0,9) мм от торца штифта до нижней поверхности опоры. Посадите на штифты упоры 6 и стяните упоры с опорами болтами 1 с бонками 5, подложив под .болты пружинные шайбы. Выступание поверхности С над поверхностью В не допускается. Момент затяжки болтов 350...450 Н-м (35...45 кгс-м). Застопорите болты, отогнув лапки замковых пластин на грани головок болтов.

Установите опоры в сборе с упорами на ось, совместив отверстия под стопор 18 ( см. рис. 291 ). Запрессуйте в опоры стопоры 18 с усилием не менее 500 Н (50 кгс) и закрепите их гайками 17 с пружинными шайбами. Момент затяжки гаек 60...100 Н-м (6...10 кгс-м). Проворачивая рукой за опоры, проверьте вращение натяжного колеса. Ось с опорами должна вращаться плавно, без заедании. После сборки торцовое уплотнение натяжного колеса проверьте на герметичность воздухом под давлением 50...70 кПа (0,5...0,7 кгс/см²) в течение 10 с, не менее. Допускается падение давления до 50 кПа (0,5 кгс/см²). Воздух подавайте через смазочное отверстие оси под пробку.

Установка натяжного колеса Т-170

Присоедините тросом колесо к подъемнику. Подложите под опоры колеса плиты 7 и, поддерживая их, заведите колесо в раму тележки до упора в плечи вилки механизма натяжения. Закрепите опоры натяжного колеса к плечам вилки болтами с пружинными шайбами. Момент затяжки болтов 220...280 Н-м ( 22...28 кгс-м). Вставьте по две пружины 20 в отверстия каждой опоры натяжного колеса и закройте их крышками 3 (см. рис. 289). Закрепите крышки болтами 2. После установки заправьте натяжное колесо маслом согласно инструкции по эксплуатации и заверните пробку 9 (см. рис. 291). Момент затяжки пробки 50...80 Н-м (5...8 кгс-м). Наденьте и соедините гусеницу. Отрегулируйте натяжение гусениц.

Ремонт натяжного колеса