| Поз. | Обозначение | Наименование | Кол. | Масса |
| 1 | Ручка 21083-170388 | 1 | 0,096 | |
| 2 | Уплотнитель 4320-1108022 | 1 | 0,03 | |
| 3 | ПК46.13.01.040 | Рычаг | 1 | 0,456 |
| 4 | Шплинт 2×20.019 ГОСТ 397-79 | 4 | 0,001 | |
| 5 | 027.43.22.019 | Палец | 1 | 0,019 |
| 6 | ПК46.13.01.030 | Пневмораспределитель | 1 | 2,4 |
| 7 | Болт M10-6g×20.58.019 (S16) ГОСТ 7798-70 | 4 | 0,02 | |
| 8 | Шайба 10.65Г.019 ГОСТ 6402-70 | 4 | 0,001 | |
| 9 | ПК46.13.01.004 | Вилка | 2 | 0,085 |
| 10 | ПК46.13.01.002 | Шпилька | 1 | 0,039 |
| 11 | Гайка М8-6Н.5.019 (S13) ГОСТ 5915-70 | 2 | 0,005 | |
| 12 | ПК46.13.03.019 | Палец | 2 | 0,003 |
| Общий вес, кг | 5,5 | |||
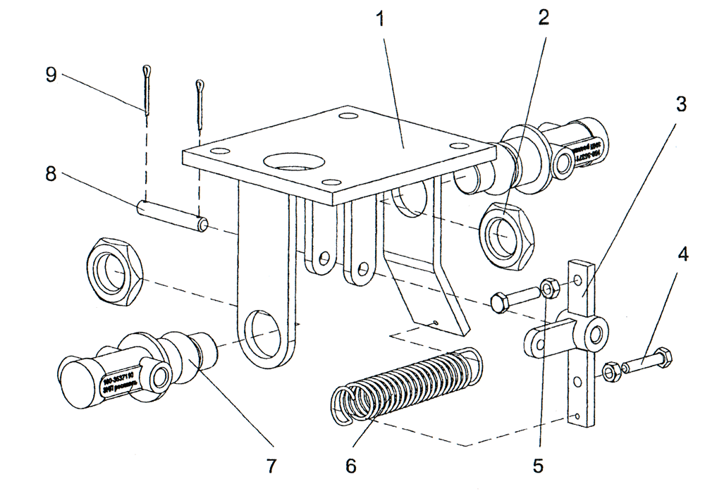
| Поз. | Обозначение | Наименование | Кол. | Масса |
| 1 | ПК46.13.01.010 | Плита | 1 | 1.6 |
| 2 | 027.13.11.076 | Гайка | 2 | 0,05 |
| 3 | ПК46.13.01.020 | Рычаг | 1 | 0,124 |
| 4 | ПК46.13.01.001 | Болт специальный | 2 | 0,02 |
| 5 | Гайка М6-6Н.5.019 (S10) ГОСТ 5915-70 | 2 | 0,002 | |
| 6 | 027.52.00.015 | Пружина | 1 | 0.01 |
| 7 | Кран пневматический 1 GO-3537110 ОСТ 37.001.085-96 | 2 | 0.3 | |
| 8 | 027.43.22.019 | Палец | 2 | 0,03 |
| 9 | Шплинт 2×20.019 ГОСТ 397-79 | 4 | 0,001 | |
| Общий вес, кг | 2,4 | |||
