Запасные части ЧТЗ Запасные части ЧТЗ
Севастополь
Например:
Актобе
Алдан
или
Выбрать автоматически
Актобе
Алдан
Алматы
Алчевск
Архангельск
Астана
Астрахань
Атырау
Баку
Балашиха
Барнаул
Белгород
Бердянск
Бишкек
Владивосток
Владикавказ
Воркута
Воронеж
Горловка
Грозный
Донецк
Екатеринбург
Иваново
Ижевск
Иркутск
Казань
Калининград
Каменск-Уральский
Караганда
Каховка
Кемерово
Киров
Комсомольск-на-Амуре
Костанай
Краснодар
Красноярск
Красный луч
Ленск
Луганск
Магадан
Магнитогорск
Макеевка
Махачкала
Мелитополь
Минск
Мирный (Якутия)
Москва
Мурманск
Нерюнгри
Нижневартовск
Нижний Новгород
Нижний Тагил
Новая каховка
Новокузнецк
Новосибирск
Новый Уренгой
Норильск
Ноябрьск
Нур-Султан
Омск
Оренбург
Ош
Павлодар
Пермь
Петрозаводск
Петропавловск
Петропавловск-Камчатский
Псков
Ростов-на-Дону
Салехард
Самара
Санкт-Петербург
Саратов
Севастополь
Семей
Симферополь
Сочи
Ставрополь
Сургут
Сыктывкар
Тараз
Ташкент
Токмак
Томск
Тында
Тюмень
Ульяновск
Усинск
Усть-Каменогорск
Уфа
Хабаровск
Ханты-Мансийск
Херсон
Челябинск
Чита
Шымкент
Экибастуз
Энергодар
Южно-Сахалинск
Якутск
Ваш город
Севастополь
Войти
Запасные части к тракторам на одном сайте
+7 (932) 303-00-10
+7 (932) 303-00-10
г. Севастополь, ул. Отрадная, д. 17/1
Пн-Пт: 9:30-18:30 Cб-Вс: Выходной
Отправить заявку


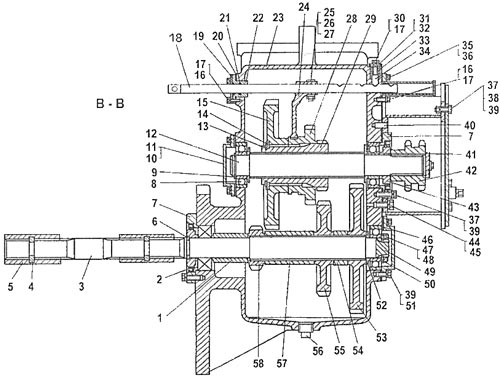
Редуктор отбора мощности 71-44-2СП на ТР20 и ТР12


/
с НДС 20%
Описание
Редуктор отбора мощности 71-44-2СП
Поз.ОбозначениеНаименованиеКол-во
171-44-220-02Втулка1
22.2-90x120-2Манжета 2
371-44-11Вал1
461-49-14Палец2
571-44-139СП; 71-44-147СПВтулка2
671-44-49Кольцо1
771-44-235Стакан2
8Подшипник 3106
9700-58-2605Кольцо1
1071-44-218Крышка2
11700-40-8532Прокладка2
1271-44-267Вал1
13700-58-2575Кольцо1
1471-44-224Кольцо1
1571-44-287Колесо зубчатое1
16М8х25.88.35.019Болт 12
178Т 65Г 09Шайба 32
1871-44-231Валик1
1971-44-229Пластина1
20700-41-8535-01Прокладка1
21Кольцо 022-028-36-2-22
2271-44-230Фланец1
2371-44-257Корпус1
2471-44-232Вилка1
25Клин 50-12-6241
26700-30-2331Гайка1
27Шайба стопорная 700-31-25841
2871-44-288Колесо зубчатое1
2971-44-289Колесо зубчатое1
30М8х20.58.019Болт20
3171-44-205Крышка1
32700-40-8540Прокладка1
3338347Пружина1
3471-44-248Фиксатор1
3571-44-131СПКрышка1
36700-40-8535Прокладка1
37М10x35.58.019Болт 48
38М10.6.019Гайка 30
3910 ОТ 65Г 09Шайба 60
40700-32-2201Штифт1
4171-44-258Кольцо2
4271-44-278Звездочка1
4371-44-217Втулка2
4428558Болт18
4512 ОТ 65Г 09Шайба 27
46700-40-8534Прокладка1
47В.М8х16.14НВинт 1
48700-30-2264Гайка1
4971-44-268Вал1
5062-14-59Пластина1
51М10x25.58.019Болт 12
5271-44-220-01Втулка1
5371-44-286Колесо зубчатое1
5471-44-219-01Втулка1
5571-44-285Колесо зубчатое1
5637104-1Пробка коническая1
5771-44-275Втулка1
5871-44-264Колесо зубчатое1

Редуктор отбора мощности
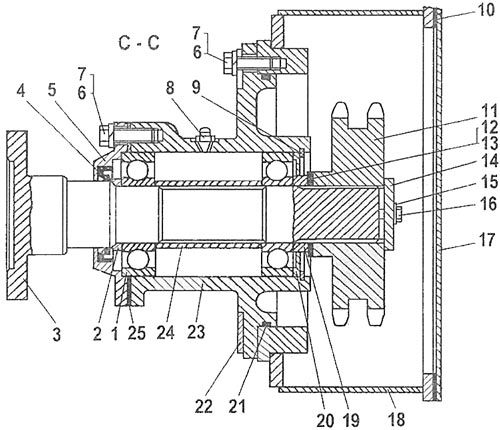
Редуктор мощности 71-44-2СП
Поз.ОбозначениеНаименованиеКол-во
1Подшипник 3106
271-44-221Кольцо1
371-44-280Вал1
42.1-60x85-4Манжета 1
571-44-228Крышка1
612 ОТ 65Г 09Шайба 27
728558Болт18
81.3Ц6Масленка 1
9700-58-2211Кольцо 1101
10700-40-8743Прокладка1
1171-44-279Звездочка1
1271-44-227Пластина3
1371-44-227-01Пластина3
1471-44-222Крышка2
15700-31-2605Шайба стопорная2
16М8х25.88.35.019Болт 12
1771-44-134СПКрышка1
1871-44-140СПКожух1
1971-44-302Втулка1
2071-44-304Проставка1
21Кольцо уплотнительное 4010161
2271-44-204Кольцо1
2371-44-241Корпус1
2471-44-223Втулка1
25700-40-8533Прокладка1
Редуктор отбора мощности 71-44-2СП