Запасные части ЧТЗ Запасные части ЧТЗ
Севастополь
Например:
Актобе
Алдан
или
Выбрать автоматически
Актобе
Алдан
Алматы
Алчевск
Архангельск
Астана
Астрахань
Атырау
Баку
Балашиха
Барнаул
Белгород
Бердянск
Бишкек
Владивосток
Владикавказ
Воркута
Воронеж
Горловка
Грозный
Донецк
Екатеринбург
Иваново
Ижевск
Иркутск
Казань
Калининград
Каменск-Уральский
Караганда
Каховка
Кемерово
Киров
Комсомольск-на-Амуре
Костанай
Краснодар
Красноярск
Красный луч
Ленск
Луганск
Магадан
Магнитогорск
Макеевка
Махачкала
Мелитополь
Минск
Мирный (Якутия)
Москва
Мурманск
Нерюнгри
Нижневартовск
Нижний Новгород
Нижний Тагил
Новая каховка
Новокузнецк
Новосибирск
Новый Уренгой
Норильск
Ноябрьск
Нур-Султан
Омск
Оренбург
Ош
Павлодар
Пермь
Петрозаводск
Петропавловск
Петропавловск-Камчатский
Псков
Ростов-на-Дону
Салехард
Самара
Санкт-Петербург
Саратов
Севастополь
Семей
Симферополь
Сочи
Ставрополь
Сургут
Сыктывкар
Тараз
Ташкент
Токмак
Томск
Тында
Тюмень
Ульяновск
Усинск
Усть-Каменогорск
Уфа
Хабаровск
Ханты-Мансийск
Херсон
Челябинск
Чита
Шымкент
Экибастуз
Энергодар
Южно-Сахалинск
Якутск
Ваш город
Севастополь
Войти
Запасные части к тракторам на одном сайте
+7 (932) 303-00-10
+7 (932) 303-00-10
г. Севастополь, ул. Отрадная, д. 17/1
Пн-Пт: 9:30-18:30 Cб-Вс: Выходной
Отправить заявку


Барабан 71-44-103СП на ТР20 и ТР12


/
с НДС 20%
Описание
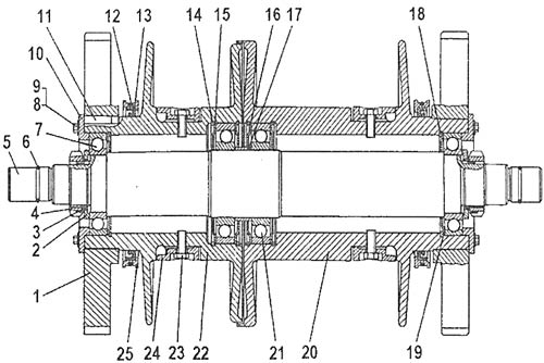
Барабан 71-44-103СП
Поз.ОбозначениеНаименованиеКол-во
171-44-147Колесо зубчатое2
220-19-28 Кольцо2
3700-31-2657Шайба2
4Гайка 700-30-2017-012
571-44-102Ось1
6358.43.002Кольцо2
7224Подшипник 2
8М12х30.58.019Болт 16
9700-31-2719Пластина стопорная8
1071-44-149Крышка2
11700-34-2070Шпонка призматическая2
12700-40-8592Кольцо2
132.1-280x320-1Манжета 2
14Кольцо замковое 700-58-23414
1571-44-105Маслоотражатель2
1671-44-105-01Маслоотражатель2
1771-44-125Втулка1
18Кольцо замковое 194632
1971-44-104Маслоотражатель2
2071-44-148-01Барабан1
21Подшипник 228А2
2271-44-148Барабан1
23М20х50.88.35.019Болт 4
2471-44-106Прижим4
2571-44-103Корпус2
Барабан 71-44-103СП