Запасные части ЧТЗ Запасные части ЧТЗ
Севастополь
Например:
Актобе
Алдан
или
Выбрать автоматически
Актобе
Алдан
Алматы
Алчевск
Архангельск
Астана
Астрахань
Атырау
Баку
Балашиха
Барнаул
Белгород
Бердянск
Бишкек
Владивосток
Владикавказ
Воркута
Воронеж
Горловка
Грозный
Донецк
Екатеринбург
Иваново
Ижевск
Иркутск
Казань
Калининград
Каменск-Уральский
Караганда
Каховка
Кемерово
Киров
Комсомольск-на-Амуре
Костанай
Краснодар
Красноярск
Красный луч
Ленск
Луганск
Магадан
Магнитогорск
Макеевка
Махачкала
Мелитополь
Минск
Мирный (Якутия)
Москва
Мурманск
Нерюнгри
Нижневартовск
Нижний Новгород
Нижний Тагил
Новая каховка
Новокузнецк
Новосибирск
Новый Уренгой
Норильск
Ноябрьск
Нур-Султан
Омск
Оренбург
Ош
Павлодар
Пермь
Петрозаводск
Петропавловск
Петропавловск-Камчатский
Псков
Ростов-на-Дону
Салехард
Самара
Санкт-Петербург
Саратов
Севастополь
Семей
Симферополь
Сочи
Ставрополь
Сургут
Сыктывкар
Тараз
Ташкент
Токмак
Томск
Тында
Тюмень
Ульяновск
Усинск
Усть-Каменогорск
Уфа
Хабаровск
Ханты-Мансийск
Херсон
Челябинск
Чита
Шымкент
Экибастуз
Энергодар
Южно-Сахалинск
Якутск
Ваш город
Севастополь
Войти
Запасные части к тракторам на одном сайте
+7 (932) 303-00-10
+7 (932) 303-00-10
г. Севастополь, ул. Отрадная, д. 17/1
Пн-Пт: 9:30-18:30 Cб-Вс: Выходной
Отправить заявку


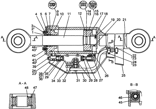
Гидрораскос 749-72-240СП на ДЭТ-320Б1


/
с НДС 20%
Описание
Гидрораскос 749-72-240СП
Поз.ОбозначениеНаименованиеКол-во
1749-72-269Втулка1
2М12-6gх35.58.019Болт 12
3Шайба 12 ОТ 65Г 09 12
4749-72-258Скребок1
5749-72-428 Кольцо нажимное КН 100x125-2 1
6М 100x125-2Манжета 3
7749-72-427 Кольцо опорное КО 100x125-2 1
8749-72-262 Кольцо распорное1
9210-220-58-2-2Кольцо 1
10749-72-187СПКрышка1
11749-72-257Шток1
12749-72-266 Втулка 2
Е21-220-20-4Кольцо 2
13749-72-263Кольцо распорное1
14079-085-36-2-2Кольцо 1
15749-72-265Кольцо2
16200-210-58-2-2Кольцо 2
17749-72-260Поршень1
18749-72-268Винт1
19749-72-267Гайка1
20749-72-264Кольцо защитное1
21749-72-242СПКорпус1
22700-28-2621Болт8
2316 ОТ 65Г 09Шайба 14
24700-28-2618Болт6
25749-72-244СПКожух1
26Кольцо 030-035-30-2-24
27749-72-245Фланец1
28700-57-567Ниппель1
29700-40-7939Кольцо4
30749-72-243СПКожух1
31749-72-280СПТруба1
32Штуцер 700-41-35332
33749-72-279СПТруба1
34Гидрозамок 50-50-195СП1
35700-57-1059Штуцер1
36749-72-284Переходник1
37700-57-534Ниппель1
38700-33-263Гайка1
39749-72-184СПКлапан1
40М24-8gх65.58.019Болт 12
4124 ОТ 65Г 09Шайба 12
42749-72-261Шайба регулировочная78
43749-72-259Чистик16
44749-72-259-01Чистик8
45749-72-512Планка2
4642212Муфточка2
47700-58-2084Кольцо4
48ШСЛ-80Подшипник 2
Гидрораскос 749-72-240СП