Запасные части ЧТЗ Запасные части ЧТЗ
Севастополь
Например:
Актобе
Алдан
или
Выбрать автоматически
Актобе
Алдан
Алматы
Алчевск
Архангельск
Астана
Астрахань
Атырау
Баку
Балашиха
Барнаул
Белгород
Бердянск
Бишкек
Владивосток
Владикавказ
Воркута
Воронеж
Горловка
Грозный
Донецк
Екатеринбург
Иваново
Ижевск
Иркутск
Казань
Калининград
Каменск-Уральский
Караганда
Каховка
Кемерово
Киров
Комсомольск-на-Амуре
Костанай
Краснодар
Красноярск
Красный луч
Ленск
Луганск
Магадан
Магнитогорск
Макеевка
Махачкала
Мелитополь
Минск
Мирный (Якутия)
Москва
Мурманск
Нерюнгри
Нижневартовск
Нижний Новгород
Нижний Тагил
Новая каховка
Новокузнецк
Новосибирск
Новый Уренгой
Норильск
Ноябрьск
Нур-Султан
Омск
Оренбург
Ош
Павлодар
Пермь
Петрозаводск
Петропавловск
Петропавловск-Камчатский
Псков
Ростов-на-Дону
Салехард
Самара
Санкт-Петербург
Саратов
Севастополь
Семей
Симферополь
Сочи
Ставрополь
Сургут
Сыктывкар
Тараз
Ташкент
Токмак
Томск
Тында
Тюмень
Ульяновск
Усинск
Усть-Каменогорск
Уфа
Хабаровск
Ханты-Мансийск
Херсон
Челябинск
Чита
Шымкент
Экибастуз
Энергодар
Южно-Сахалинск
Якутск
Ваш город
Севастополь
Войти
Запасные части к тракторам на одном сайте
+7 (932) 303-00-10
+7 (932) 303-00-10
г. Севастополь, ул. Отрадная, д. 17/1
Пн-Пт: 9:30-18:30 Cб-Вс: Выходной
Отправить заявку


Фильтр масляный на Т-170


/
с НДС 20%
Описание
Фильтр масляный Т-170
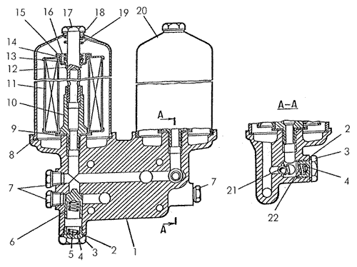
Поз.НаименованиеАртикулКол-во в сборке
0Колпак с уплотнением51-09-256СП2
0Фильтр масляный 51-09-255СП1
0Элемент фильтрующий50-26-490СП2
1Корпус51-09-2541
2Кольцо700-58-25902
3Пробка700-37-21052
4Шайба313128
5Пружина700-38-21011
6Клапан092051
7Пробка 3793
8Прокладка 700-40-83912
9Шайба700-31-26742
10Вставка51-09-2552
11Элемент фильтрующий Реготмас 635-1-06 УХЛ-22
12Кольцо пружинное412-29-12
13Кольцо 022-028-36-2-22
14Прокладка700-40-83904
15Чашка опорная51-09-2602
16Шайба700-31-26772
17Болт51-09-2592
18Шайба700-31-26782
19Пружина700-38-28772
20Колпак51-09-257СП2
21ШарикБ15-1001
22Пружина700-38-29241
Фильтр масляный