Запасные части ЧТЗ Запасные части ЧТЗ
Севастополь
Например:
Актобе
Алдан
или
Выбрать автоматически
Актобе
Алдан
Алматы
Алчевск
Архангельск
Астана
Астрахань
Атырау
Баку
Балашиха
Барнаул
Белгород
Бердянск
Бишкек
Владивосток
Владикавказ
Воркута
Воронеж
Горловка
Грозный
Донецк
Екатеринбург
Иваново
Ижевск
Иркутск
Казань
Калининград
Каменск-Уральский
Караганда
Каховка
Кемерово
Киров
Комсомольск-на-Амуре
Костанай
Краснодар
Красноярск
Красный луч
Ленск
Луганск
Магадан
Магнитогорск
Макеевка
Махачкала
Мелитополь
Минск
Мирный (Якутия)
Москва
Мурманск
Нерюнгри
Нижневартовск
Нижний Новгород
Нижний Тагил
Новая каховка
Новокузнецк
Новосибирск
Новый Уренгой
Норильск
Ноябрьск
Нур-Султан
Омск
Оренбург
Ош
Павлодар
Пермь
Петрозаводск
Петропавловск
Петропавловск-Камчатский
Псков
Ростов-на-Дону
Салехард
Самара
Санкт-Петербург
Саратов
Севастополь
Семей
Симферополь
Сочи
Ставрополь
Сургут
Сыктывкар
Тараз
Ташкент
Токмак
Томск
Тында
Тюмень
Ульяновск
Усинск
Усть-Каменогорск
Уфа
Хабаровск
Ханты-Мансийск
Херсон
Челябинск
Чита
Шымкент
Экибастуз
Энергодар
Южно-Сахалинск
Якутск
Ваш город
Севастополь
Войти
Запасные части к тракторам на одном сайте
+7 (932) 303-00-10
+7 (932) 303-00-10
г. Севастополь, ул. Отрадная, д. 17/1
Пн-Пт: 9:30-18:30 Cб-Вс: Выходной
Отправить заявку


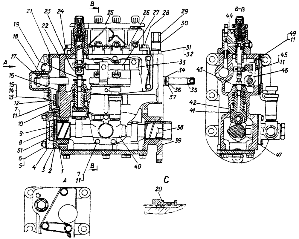
Топливный насос на Т10М / Б10М


/
с НДС 20%
Описание
Топливный насос Т10М
# Номер запчасти Наименование детали Кол-во в сборке
- 51-67-24-03СП Топливный насос 1
1 40743 Прокладка 1
2 67206СП Подшипник 1
3 40742 Прокладка 1
4 67243 Крышка подшипника 1
5 - Шайба 8Т 65Г 09 10
6 - Гайка М8×1.6.019 4
7 - Болт М6×20.58.019 6
8 3185 Пластина 1
9 67233 Шайба упорная 1
10 51-67-95 Пластина корректора 1
11 - Шайба 6Т 65Г 09 8
12 51-67-82 Накладка пружины корректора 1
13 - Шайба 10 ОТ 65Г 09 9
14 31437 Шайба 9
15 28474 Болт 2
16 67239 Пружина корректора 1
17 30202 Гайка 1
18 67255 Муфта 1
19 3083 Гайка 4
20 67127 Угольник стопорный 1
21 14-67-2-2 Крышка корректора 1
22 40741-1 Прокладка 1
23 67230 Хвостовик толкателя 4
24 67224-1 Угольник 10
25 51-67-44 Щиток 4
26 28475 Болт 2
27 67234 Рейка 1
28 - Болт М10×25.58.019
14
29 700-30-2296 Гайка 1
30 51-70-48 
41832
Втулка 2
31 51-06-8 Кольцо 3
32 51-69-136СП Штуцер 1
33 67237 Пластина 2
34 700-58-2512 Кольцо 1
35 51-67-147СП Тяга рейки 1
36 700-32-2194 Штифт 1
37 67315 Кольцо 1
38 51-67-23 Вал кулачковый 1
39 51-67-117-01СП Блок топливного насоса 1
40 51-71-4СП Насос топливоподкачивающий 1
41 67225СП Толкатель 4
42 38305 Пружина 4
43 3197
3197-02
Шайба 4
44 51-67-154СП Секция топливного насоса 4
45 67236 Болт 1
46 67235 Поводок рейки 1
47 700-40-3323 Прокладка 1
48 - Пломба 10/6.5 1
49 - Болт M6×16.88.019
4
Топливный насос