Запасные части ЧТЗ Запасные части ЧТЗ
Севастополь
Например:
Актобе
Алдан
или
Выбрать автоматически
Актобе
Алдан
Алматы
Алчевск
Архангельск
Астана
Астрахань
Атырау
Баку
Балашиха
Барнаул
Белгород
Бердянск
Бишкек
Владивосток
Владикавказ
Воркута
Воронеж
Горловка
Грозный
Донецк
Екатеринбург
Иваново
Ижевск
Иркутск
Казань
Калининград
Каменск-Уральский
Караганда
Каховка
Кемерово
Киров
Комсомольск-на-Амуре
Костанай
Краснодар
Красноярск
Красный луч
Ленск
Луганск
Магадан
Магнитогорск
Макеевка
Махачкала
Мелитополь
Минск
Мирный (Якутия)
Москва
Мурманск
Нерюнгри
Нижневартовск
Нижний Новгород
Нижний Тагил
Новая каховка
Новокузнецк
Новосибирск
Новый Уренгой
Норильск
Ноябрьск
Нур-Султан
Омск
Оренбург
Ош
Павлодар
Пермь
Петрозаводск
Петропавловск
Петропавловск-Камчатский
Псков
Ростов-на-Дону
Салехард
Самара
Санкт-Петербург
Саратов
Севастополь
Семей
Симферополь
Сочи
Ставрополь
Сургут
Сыктывкар
Тараз
Ташкент
Токмак
Томск
Тында
Тюмень
Ульяновск
Усинск
Усть-Каменогорск
Уфа
Хабаровск
Ханты-Мансийск
Херсон
Челябинск
Чита
Шымкент
Экибастуз
Энергодар
Южно-Сахалинск
Якутск
Ваш город
Севастополь
Войти
Запасные части к тракторам на одном сайте
+7 (932) 303-00-10
+7 (932) 303-00-10
г. Севастополь, ул. Отрадная, д. 17/1
Пн-Пт: 9:30-18:30 Cб-Вс: Выходной
Отправить заявку


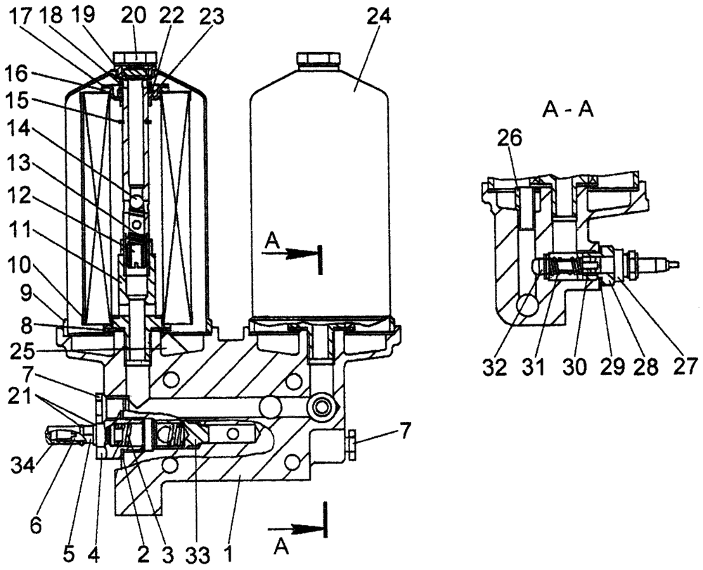
Фильтр масляный на Т10М / Б10М


/
с НДС 20%
Описание
Фильтр масляный Т10М
#Номер запчастиНаименование деталиКол-во в сборке
- 65-09-123СП Фильтр масляный 1
1 51-09-254 Корпус 1
2 700-58-2590 Кольцо 2
3 700-38-2191 Пружина 1
4 700-41-4010 Пробка 1
5 - Гайка ГПШ М10*1 1
6 65-09-9 Винт 1
7 379 Пробка 2
8 700-31-2674 Шайба 2
9 700-40-8391 Прокладка 2
10 50-26-490СП Элемент фильтрующий ЭФМ-011 2
11 51-09-255-01 Вставка 2
12 65-09-22 Винт 2
13 38347 Пружина 2
14 - Шарик Б12-200 1
15 308-19 Кольцо 2
16 700-40-8390 Прокладка 4
17 51-09-260 Чашка опорная 2
18 700-38-2877 Пружина 2
19 700-31-2678 Шайба 2
20 65-09-124СП Болт 2
21 40912 Кольцо 2
22 700-31-2677 Шайба 2
23 - Кольцо 022-028-36-2-2 2
24 51-09-257СП Колпак 2
25 65-09-43 Втулка 1
26 65-09-42 Втулка 1
27 65-09-132СП Датчик сигнализатора 1
28 65-09-49 Штуцер 1
29 360.27.054 Кольцо 1
30 65-09-48 Седло 1
31 700-38-2319 Пружина 1
32 65-09-35-01 Клапан 1
33 09205 Клапан 1
34 02277 Наконечник 1
Фильтр масляный